| d: 120
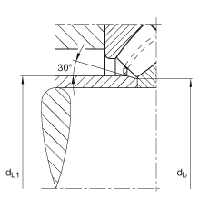
D: 250 T: 78 T3: 50,5 Cua: 390000 Fatigue limit load, axial Da max: 210 db max: 132 T1: 36,5 Ca: 1460000 Basic dynamic load rating, axial D1: 171 A: 74 ra max: 3 db1 max: 142 Db min: 254 nB: 1470 Reference speed da min: 180 d1: 218,4 T5: 70 m: 15,9 Mass rmin: 4 C0a: 3700000 Basic static load rating, axial nG: 1800 Limiting speed Type: FAG Axial spherical roller bearings | ![]() ![]() ![]() ![]() ![]() ![]() ![]() ![]() ![]() ![]() ![]() ![]() ![]() ![]() |
We provid brand: NSK INA IKO KOYO ZWZ LYC C&U HRB TMB TWB
if you are interested in 29424-E1 and some details of its properties, Please contact Email for any inquiries,We are professionally provides you the 29424-E1 products , 29424-E1 is widely used in the metallurgy, railway, papermaking, cement, engineering machinery, power, transmission equipment, machine toos, automotive, aerospace industry.distributor,in stock, dimensions | price |specifications| SPEC| sale| size| Weight| draw | Manufacturer ,supplier,China /Chinese
PREVIOUS:29422-E1 FAG NEXT:29426-E1 FAG
Other bearings
bearing 29424-E1 bearing price specification bearing Japan NSK SKF Sweden Japan TIMKEN Germany FAG INA Japan KOYO Nachi IKO FAG 29424-E1 bearing Germany fag 29424-E1 dimensions












Reviews
There are no reviews yet.